Your shopping cart is currently empty.
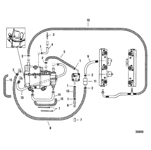
200XS DFI 2.5L - Serial 0T235000 Thru 0T818180 - Fuel Hoses
Other Sub-Sections:
- Air Compressor Components
- Air Handler
- Air Handler Components
- Air Hoses
- Bottom Cowl
- Coil Plate Assembly
- Crankshaft, Pistons And Connecting Rods
- Cylinder Block And End Caps
- Cylinder Head
- Driveshaft Housing
- Electrical Plate Assembly
- Exhaust Plate
- Flywheel/Alternator
- Fuel Hoses
- Fuel Pump
- Fuel Rails
- Gear Housing(Driveshaft)(Std/Counter Rotation)(Sportmaster)
- Gear Housing(Prop Shaft)(Counter Rotation)(Sportmaster)
- Gear Housing(Prop Shaft)(Standard Rotation)(Sportmaster)
- Gear Housing, Driveshaft - Torquemaster
- Gear Housing, Propeller Shaft - Torquemaster
- Hydraulic Pump And Mounting Brackets
- Hydraulic Pump Assembly
- Key Switch/Instrumentation/Accessories
- Oil Injection Components
- Oil Lines
- Oil Lines
- Power Trim Components
- Speedometer Pickup-Torquemaster
- Starter Motor
- Steering Attaching Kit
- Swivel Bracket(Long)
- Swivel Bracket(Short)
- Throttle Lever And Shift Shaft
- Top Cowl
- Transom Brackets(Long)
- Transom Brackets(Short)
- Vapor Separator Components
- Water Hoses
| Ref. | OEM Part # | Hardin # | Mallory # | GLM # | Other # | Description | Num Req. | Superceded From | Special Notes |
| 1 | 54-816311T | TIE STRAP, (8.00 Inches) | AR | ||||||
| 2 | 54-856880 | CLAMP, Hose (15.3) | 5 | ||||||
| 3 | 22-858955 | CONNECTOR | 1 | ||||||
| 4 | 32-8M0108355 | HOSE, (57.00 Inches Bulk) (Cut to 7-1/2 IN.) | 1 | 830756109 | |||||
| 5 | 32-8M0064784 | TUBING | 1 | 856822A1 | |||||
| 6 | 22-822769 | CONNECTOR | 1 | ||||||
| 7 | NSS | Cap | 1 | Not Sold Separate | |||||
| 8 | 32-8M0062344 | HOSE ASSEMBLY, (25.50 Inches) | 1 | 858757A1 | |||||
| 9 | 32-8M6001914 | HOSE | 1 | No Longer Available | |||||
| 10 | 32-8M6001755 | TUBING (INCLUDES ORINGS) | 1 | No Longer Available | |||||
| 11 | 21-8557611 | CHECK VALVE | 1 | ||||||
| 12 | 32-8M0043979 | HOSE AND SLEEVE ASSEMBLY, (18.00 Inches) | 1 | 856822A2 | |||||
| 13 | 32-8M0064634 | HOSE | 1 | 85677870 | |||||
| 14 | 32-8M0064635 | HOSE | 1 | 85677887 | |||||
| 15 | 23-85686953 | SLEEVE, (27.00 Inches Bulk) | 2 | No Longer Available |


