Your shopping cart is currently empty.
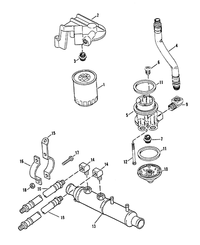
454 Mag Bravo (Gen 4) GM V-8 1988-1992 - Serial 0B721206 Thru 0D805068 - Oil Filter And Adaptor
Other Sub-Sections:
- Alternator (Mando)
- Alternator (Motorola) Motorola 8MR2039K
- Alternator (Prestolite) Prestolite 8EM2003KA
- Audio Waring System
- Carburetor
- Carburetor And Linkage
- Crankshaft, Pistons And Connecting Rods
- Cylinder Block And Camshaft
- Cylinder Head And Rocker Cover
- Distributor And Ignition Components
- Engine Mounting
- Exhaust Manifold And Exhaust Elbow Cast Iron Exhaust Elbow
- Exhaust Manifold And Exhaust Elbow Stainless Steel
- Exhaust Plate
- Flame Arrestor New Design
- Flame Arrestor Old Design
- Flywheel Housing
- Fuel Pump And Fuel Filter
- Intake Manifold And Front Cover
- Muffler Kit
- Oil Filter And Adaptor
- Oil Pan And Oil Pump Castoil Pan
- Oil Pan And Oil Pump Stamped Oil Pan
- Power Steering Components
- Sea Water Pump
- Shift Bracket
- Starter And Alternator
- Starter Motor 12"
- Starter Motor Delco Remy 9000762 8"
- Thermostat Housing New Design
- Thermostat Housing Old Design
- Wiring Harness (Engine)
- Wiring Harness, Electrical And Ignition
| Ref. | OEM Part # | Hardin # | Mallory # | GLM # | Other # | Description | Num Req. | Superceded From | Special Notes |
| 1 | 35-866340Q03 | OIL FILTER | 1 | 14957 | 8 = USE WITH CAST IRON EXHAUST ELBOW | ||||
| 2 | 44393A2 | BRACKET OLD DESIGN | 1 | This Part is No Longer Available 1 = USE WITH STAINLESS STEEL EXHAUST ELBOW 8 | |||||
| 3 | 22-805632 | ADAPTOR (1-12 THREAD) OLD DESIGN | 1 | 32720 | 4 = [27-19315A88] GASKET SET, ENGINE OVERHAUL 8 | ||||
| 2 | 814420A5 | BRACKET NEW DESIGN | 1 | 8 | |||||
| 3 | 22-814822 | ADAPTOR (13/16-16 THREAD) NEW DESIGN | 1 | 8 | |||||
| 2 | 817403A4 | BRACKET | 1 | 817403A2 | This Part is No Longer Available 1 | ||||
| 3 | 22-814822 | ADAPTOR | 1 | 1 | |||||
| 4 | 32-9235761 | OIL HOSE (36") | 1 | ||||||
| 5 | 90783A22 | ADAPTOR ASSEMBLY | 1 | ||||||
| 6 | 99889 | BY-PASS VALVE | 1 | ||||||
| 7 | 22-805632 | ADAPTOR | 1 | 32720 | |||||
| 9 | 22-63825 | ELBOW (90 ) | 1 | ||||||
| 10 | 91830 | COVER | 1 | ||||||
| 11 | 27-91892 | GASKET | 2 | 4 | |||||
| 12 | 10-91966 | SCREW (4") | 1 | No longer made, limited availability | |||||
| 12 | 10-91967 | SCREW (3-1/4") | 1 | This Part is No Longer Available No longer made, limited availability | |||||
| 13 | 85152T | OIL COOLER | 1 | ||||||
| 14 | 22-63825 | ELBOW (90 ) | 1 | ||||||
| 14 | 22-48872 | ELBOW (45 ) | 1 | ||||||
| 15 | 63820T1 | BRACKET (LONG - OLD DESIGN) | 1 | 638204 | This Part is No Longer Available | ||||
| 15 | 18728 | BRACKET (LONG - NEW DESIGN) | 1 | This Part is No Longer Available | |||||
| 16 | 56328A1 | BRACKET (SHORT) | 1 | ||||||
| 17 | 10-60300 | SCREW (3/4") | 2 | ||||||
| 18 | 11-826709109 | NUT | 2 | 11-35045 | |||||
| 19 | 32-9235773 | HOSE (48") | 1 | ||||||
| 20 | 32-9235715 | HOSE (8-1/2") | 1 |


