Your shopping cart is currently empty.
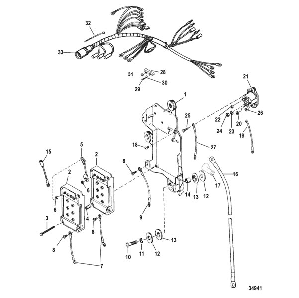
225 EFI Pro Max and Super Mag - Serial 0G857000 Thru 0T429939 - Wiring Harness/Starter Solenoid
Other Sub-Sections:
- Bleed System
- Bottom Cowl
- Crankshaft, Pistons and Connecting Rods
- Cylinder Block and End Caps
- Driveshaft Housing
- Driveshaft Housing (Offshore)
- ECU Assembly
- Exhaust Divider and Exhaust Plate
- Flywheel, Starter Motor and Ignition Coils
- Fuel Management System
- Fuel Pump and Fuel Filter
- Gear Housing, Driveshaft – Counter/Standard – Sport Master
- Gear Housing, Driveshaft – Torque Master
- Gear Housing, Propeller Shaft – Counter – Sport Master
- Gear Housing, Propeller Shaft – Torque Master
- Gear Housing, Propeller Shaft-Standard-Sportmaster
- Hydraulic Pump and Mounting Brackets
- Hydraulic Pump Assembly
- Instrumentation
- Key Switch
- Oil Injection Components
- Power Trim Components
- Power Trim Motor
- Reed Block and Cylinder Head
- Starter Motor
- Steering Attaching Kit
- Swivel Bracket(Long)
- Swivel Bracket(Short/Offshore)
- Temperature Sensor
- Throttle Lever and Shift Shaft
- Top Cowl
- Transom Brackets (Long)
- Transom Brackets(Short/Offshore)
- Trim Solenoid Plate
- Vapor Separator Components
- Wiring Harness/Starter Solenoid
| Ref. | OEM Part # | Hardin # | Mallory # | GLM # | Other # | Description | Num Req. | Superceded From | Special Notes |
| 1 | 434292 | IGNITION PLATE | 1 | ||||||
| 2 | 332-7778A12 | 676-9-25100 | SWITCHBOX ASSEMBLY | 2 | |||||
| 3 | 10-13669 | SCREW, (#12-24 x 2.00) | 2 | No Longer Available | |||||
| 4 | 23-94453 | BUSHING | 2 | No Longer Available | |||||
| 5 | 84-62310A2 | CABLE ASSEMBLY | 1 | ||||||
| 6 | 11-45076 | NUT, (#10-32) Brass | 20 | ||||||
| 7 | 84-60871A10 | WIRE ASSEMBLY | 2 | ||||||
| 8 | 10-878607 | SCREW, (#10-16 x .380) | 3 | 817626 | |||||
| 9 | 84-65999A3 | CABLE ASSEMBLY, Black | 1 | ||||||
| 10 | 10-60411 | SCREW, (.312-18 x 1.250) | 3 | ||||||
| 11 | 13-26993 | LOCKWASHER, (.312) | 3 | ||||||
| 12 | 12-36042 | WASHER | 6 | ||||||
| 13 | 12-67264 | WASHER, (Rubber) | 6 | ||||||
| 14 | 23-67268 | BUSHING | 3 | ||||||
| 15 | 84-91865A1 | CABLE ASSEMBLY | 1 | No Longer Available | |||||
| 15 | 84-88528A2 | CABLE ASSEMBLY | 1 | No Longer Available | |||||
| 16 | 84-88439A34 | CABLE ASSEMBLY, Positive - Battery | 1 | ||||||
| 16 | 84-88439A24 | CABLE ASSEMBLY, Negative - Battery | 1 | ||||||
| 17 | 85-830233 | BOOT, Insulator - Red | 1 | ||||||
| 18 | 10-87926 | SCREW, (#10-32 x .500) | 1 | ||||||
| 19 | 84-93388A14 | CABLE ASSEMBLY, Yellow/Black | 1 | ||||||
| 20 | 11-45076 | NUT, (#10-32) Brass | 4 | ||||||
| 21 | 89-817109A2 | SOLENOID ASSEMBLY, (#10-32 / .3125-18 Terminals) | 1 | ||||||
| 22 | 11-45076 | NUT, (#10-32) Brass | 2 | ||||||
| 23 | 13-53166 | LOCKWASHER, (.312) | 2 | ||||||
| 24 | 11-68292 | NUT, (.312-18) | 2 | ||||||
| 25 | 10-455611 | SCREW, (.250-20 x 1.120) | 2 | ||||||
| 26 | 23-818968 | BUSHING | 2 | ||||||
| 27 | 84-65999A2 | CABLE ASSEMBLY, Black | 1 | ||||||
| 28 | 86-194372 | TERMINAL BLOCK | 1 | No Longer Available | |||||
| 29 | 10-38055 | SCREW, (.190-32 x .620) | 2 | ||||||
| 30 | 12-89302 | WASHER, (.203 x .406 x .040) | 2 | ||||||
| 31 | 11-45076 | NUT, (#10-32) Brass | 2 | ||||||
| 32 | 54-816311T | TIE STRAP, (8.00 Inches) | AR | ||||||
| 33 | 84-826730A4 | HARNESS ASSEMBLY, Engine Wiring | 1 |


