Your shopping cart is currently empty.
2.5L EFI and EFI-OFFSHORE - Serial 0G857000 Thru 0T999519 - Driveshaft Housing, Long-Standard
Other Sub-Sections:
- Air Inlet/Throttle Linkage
- Bleed System
- Bottom Cowl
- Crankshaft, Pistons and Connecting Rods
- Cylinder Block and End Caps
- Driveshaft Housing, Long-Standard
- Driveshaft Housing, Offshore
- Driveshaft Housing, Short-Standard
- Exhaust Divider Plate
- Flywheel and Alternator
- Fuel Injectors
- Fuel Pump
- Gear Housing(Driveshaft)(Standard/Counter Rotation)
- Gear Housing, Propeller Shaft - Counter Rotation
- Gear Housing, Propeller Shaft - Standard Rotation
- Hydraulic Pump and Mounting Brackets
- Hydraulic Pump Assembly
- Instrumentation
- Key Switch
- Powerhead Gasket Set Components
- Reed Block and Cylinder Head
- Starter Motor
- Swivel Bracket and Steering Arm
- Throttle Lever and Shift Shaft
- Top Cowl
- Transom Brackets
- Trim Switch Kit
- Wiring Harness, Starter Solenoid and Rectifier
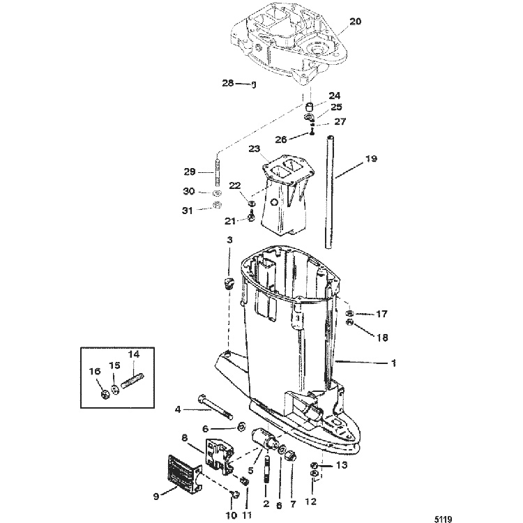
| Ref. | OEM Part # | Hardin # | Mallory # | GLM # | Other # | Description | Num Req. | Superceded From | Special Notes |
| 1 | 1590-8837T5 | HOUSING ASSEMBLY, Driveshaft | 1 | No Longer Available | |||||
| 2 | 16-59579 | STUD, (.437-14/.437-20 x 2.812) | 2 | ||||||
| 3 | 19-64649 | PLUG | 1 | ||||||
| 4 | 10-898831 | SCREW, (.500-20 x 6.00) | 2 | 63474 | |||||
| 5 | 816054T1 | MOUNT, Lower | 2 | ||||||
| 6 | 12-816056 | WASHER | 6 | ||||||
| 7 | 11-898832 | NUT, (.500-20) | 2 | 82670817 | |||||
| 8 | 54-8M0036782 | CLAMP | 2 | 67076 | |||||
| 9 | 8M4500752 | COVER, Black | 2 | 67077T | |||||
| 10 | 10-88417 | SCREW, (#12-24 x .620) | 4 | ||||||
| 11 | 11-35521 | NUT | 4 | ||||||
| 12 | 12-822836 | WASHER, (.445 x .805 x .108) | 3 | ||||||
| 13 | 11-859116 | NUT, (.437-20) | 3 | ||||||
| 14 | 16-8M0034449 | STUD, (.312-18/.312-24 x 1.690) | 4 | 69058 | |||||
| 15 | 12-22753 | WASHER | 4 | ||||||
| 16 | 11-82670811 | NUT, (.312-24) | 4 | ||||||
| 17 | 12-822838 | WASHER, (.401 x .745 x .097) | 10 | ||||||
| 18 | 11-82671013 | NUT, (.375-24) Stainless Steel | 8 | ||||||
| 18 | 11-826709113 | NUT, (.375-24) Stainless Steel | 2 | ||||||
| 19 | 32-8476502 | TUBE, Water | 1 | ||||||
| 20 | 848284T15 | PLATE, Exhaust | 1 | No Longer Available | |||||
| 21 | 10-823258 | SCREW, (.312-18 x 1.250) | 6 | ||||||
| 22 | 12-822714 | WASHER | 6 | ||||||
| 23 | 848308T3 | DIFFUSER | 1 | ||||||
| 24 | 26-88397 | SEAL | 1 | ||||||
| 25 | 8476581 | RETAINER | 1 | ||||||
| 26 | 10-28635 | SCREW, (.250-20 x .620) Stainless Steel | 1 | ||||||
| 27 | 13-26992 | LOCKWASHER, (.250) Stainless Steel | 1 | ||||||
| 28 | 17-43044 | PIN, Dowel - Without Hole (.375 x .625) | 2 | ||||||
| 28 | 17-8M0043826 | PIN, Dowel (.875) | 2 | 823106 | |||||
| 29 | 16-56295 | STUD, (.437 x 2.69) | 3 | ||||||
| 30 | 12-822836 | WASHER, (.445 x .805 x .108) | 3 | ||||||
| 31 | 11-859116 | NUT, (.437-20) | 3 |


