Your shopping cart is currently empty.
450 (Gen 5) GM 454 V8 1995-1996 - Serial 0F347100 Thru 0F347277 - Starter Assembly (50-808011A1)
Other Sub-Sections:
- Alternator (Mando AC-155603)
- Audio Warning System
- Carburetor And Linkage
- Crankshaft, Pistons And Conn Rods
- Cylinder Block And Camshaft
- Cylinder Head And Rocker Cover
- Distributor And Ignition Components
- Driveshaft Extension Components (Bravo)
- Exhaust Manifold – Elbow
- Exhaust Plate
- Flywheel Housing (Bravo Driveshaft Models)
- Flywheel Housing (Bravo Plug-In Models)
- Fuel Pump And Fuel Filter
- Intake Manifold And Front Cover
- Mount Plates
- Oil Cooler - Oil Filter And Adaptor
- Oil Pan And Oil Pump
- Power Steering Components
- Sea Water Pump Assembly
- Shift Bracket
- Starter And Alternator
- Starter Assembly (50-17251A3)
- Starter Assembly (50-806964A3) (2.875 In. Dia. End Cap)
- Starter Assembly (50-808011A1)
- Starter Assembly (50-99418A2) (3.500 In. Dia. End Cap)
- Thermostat Housing
- Wiring Harness And Electrical Components
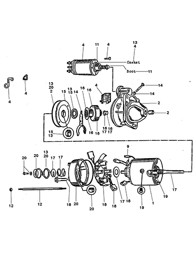
| Ref. | OEM Part # | Hardin # | Mallory # | GLM # | Other # | Description | Num Req. | Superseded From | Special Notes |
| 1 | 50-808011A05 | STARTER ASSEMBLY | 1 | 50-808011A1 | (TRANSMISSION & DRIVELINE MODELS) . | ||||
| 2 | 850401 | DRIVE HOUSING | 1 | This Part is No Longer Available . | |||||
| 3 | 89-850408 | SOLENOID SWITCH | 1 | . | |||||
| 4 | NSS | Not Sold Separate, PLUNGER KIT | 1 | This Part is not sold separately 3 | |||||
| 5 | NSS | Not Sold Separate, SHIFT LEVER KIT | 1 | This Part is not sold separately 3 | |||||
| 6 | NSS | Not Sold Separate, CENTER BEARING KIT | 1 | This Part is not sold separately 3 | |||||
| 7 | 850402 | DRIVE KIT | 1 | This Part is No Longer Available . | |||||
| 8 | NSS | Not Sold Separate, ARMATURE KIT | 1 | This Part is not sold separately 3 | |||||
| 9 | 850404 | HOLDER KIT-Brush | 1 | This Part is No Longer Available . | |||||
| 10 | NSS | Not Sold Separate, FIELD COIL | 1 | This Part is not sold separately 3 | |||||
| 11 | NSS | Not Sold Separate, CE FRAME KIT | 1 | This Part is not sold separately 3 | |||||
| 12 | 10-850407 | THRU BOLT | 2 | This Part is No Longer Available . | |||||
| 13 | NSS | Not Sold Separate, SEALING PACKAGE KIT | 1 | This Part is not sold separately 3 |


