Your shopping cart is currently empty.
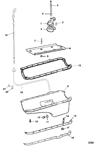
5.0L (2 BBL) GM 305 V-8 1988-1995 - Serial 0B774445 Thru 0F600999 - Oil Pan And Oil Pump
Other Sub-Sections:
- Alternator (Mando #Ac155603)
- Alternator (Mando #Ar-150)
- Alternator (Motorola #8Mr2039K)
- Alternator (Prestolite #8Em2003Ka)
- Audio Warning System
- Bodensee Parts
- Carburetor (Mercarb - 2 Barrel)
- Carburetor (Rochester - 4 Barrel)
- Carburetor (Weber)
- Carburetor-Throttle Linkage (2 Barrel)
- Carburetor-Throttle Linkage (Rochester - 4 Bbl)
- Carburetor-Throttle Linkage (Weber - 4 Barrel)
- Crankshaft And Flywheel
- Cylinder Block And Camshaft (Flat Rollers)
- Cylinder Block And Camshaft (Roller Lifters)
- Cylinder Head And Rocker Cover
- Distributor And Ignition Components
- Driveshaft Extension Components (Jackshaft Models)
- Electrical Components (Ign. Module Mounted On Distributor)
- Electrical Components (Ign. Module Mounted On Exh. Elbow)
- Engine Mounting (Cast Bracket)
- Engine Mounting (Stamped Bracket)
- Exhaust Manifold And Exh. Elbow (Stainless Steel Exh. Elb)
- Exhaust Manifold And Exhaust Elbow (Cast Iron Exh. Elbow)
- Exhaust System
- Flywheel Housing
- Fuel Pump And Fuel Filter
- Intake Manifold And Front Cover (Design I)
- Intake Manifold And Front Cover (Design II)
- Mercathode Components
- Oil Filter And Adaptor (0F114689 and Below)
- Oil Filter And Adaptor (0F114690 and Up)
- Oil Pan And Oil Pump
- Pistons And Connecting Rods
- Power Steering Components (Cast Mounting Bracket)
- Power Steering Components (Stamped Mounting Bracket)
- Sea Water Pump Assembly (Bravo)
- Sea Water Pump Ass'y (Closed Cooling Sys-Jackshaft Mdls)
- Shift Bracket (Alpha Engines)
- Shift Bracket (Bravo Engines)
- Standard Cooling System (Design I)
- Standard Cooling System (Design II)
- Standard Cooling System (Design III - Alpha)
- Starter Motor (12 In.)
- Starter Motor (8 In. - 2-7-8 In. Dia. End Cap)(PG 260)
- Starter Motor (8 In. - 3-1-4 In. Dia. End Cap)(PG 200)
- Starter Motor And Alternator
| Ref. | OEM Part # | Hardin # | Mallory # | GLM # | Other # | Description | Num Req. | Superceded From | Special Notes |
| 1 | 17617 | PUMP, Oil (W/O PICK-UP TUBE) | 1 | ||||||
| 2 | 10-17346 | SCREW | 1 | ||||||
| 3 | 35354 | SCREEN ASSEMBLY | 1 | This Part is No Longer Available | |||||
| 4 | 36184 | SHAFT | 1 | ||||||
| 5 | 23-36183 | RETAINER | 1 | ||||||
| 6 | 986021 | BAFFLE | 1 | 98602 | |||||
| 7 | 16-54790 | STUD | 5 | ||||||
| 8 | 11-37500 | NUT | 5 | ||||||
| 9 | 809910 | PAN, Oil | 1 | 14259 | |||||
| 10 | 27-138651 | 676-9-61504 | GASKET | 1 | 27-13865 | 4 | |||
| 11 | 27-8M0077608 | GASKET, Drain | 1 | 27-49955 | 4 | ||||
| 12 | 10-49956 | SCREW, Drain | 1 | ||||||
| 13 | 10-14070 | SCREW, (.250-20 x .625) | 14 | ||||||
| 14 | 16-11989 | STUD, (.312-18 x 1.6718) | 4 | ||||||
| 15 | 14257 | REINFORCEMENT (PORT) | 1 | ||||||
| 16 | 14256 | REINFORCEMENT (STARBOARD) | 1 | ||||||
| 17 | 11-11971 | NUT, (.312-18) | 4 | ||||||
| 18 | 15296A2 | TUBE | 1 | ||||||
| 19 | 861942T7 | DIPSTICK | 1 | 15297T | |||||
| 20 | 54-805625 | CLIP, Dipstick Tube | 1 | ||||||
| 21 | 10-35366 | SCREW, (.250-20 x .563) | 1 |


